Measuring an Opening for a Semi-Framed Shower Screen
Measuring a shower screen requires precision to ensure that the space is accurately measured and that your shower screen fits perfectly. Here’s how to do it.
Semi-framed shower screens offer the perfect balance of sleek, minimalist design and structural integrity. With a framed surround, Stegbar’s range of shower screens is available in standard sizes to suit your bathroom.
To determine the exact size you need for your project, you’ll need to take a few measurements and check whether the surfaces are level. Here’s how to do it.
What you need:
- Tape measure
- Spirit level.
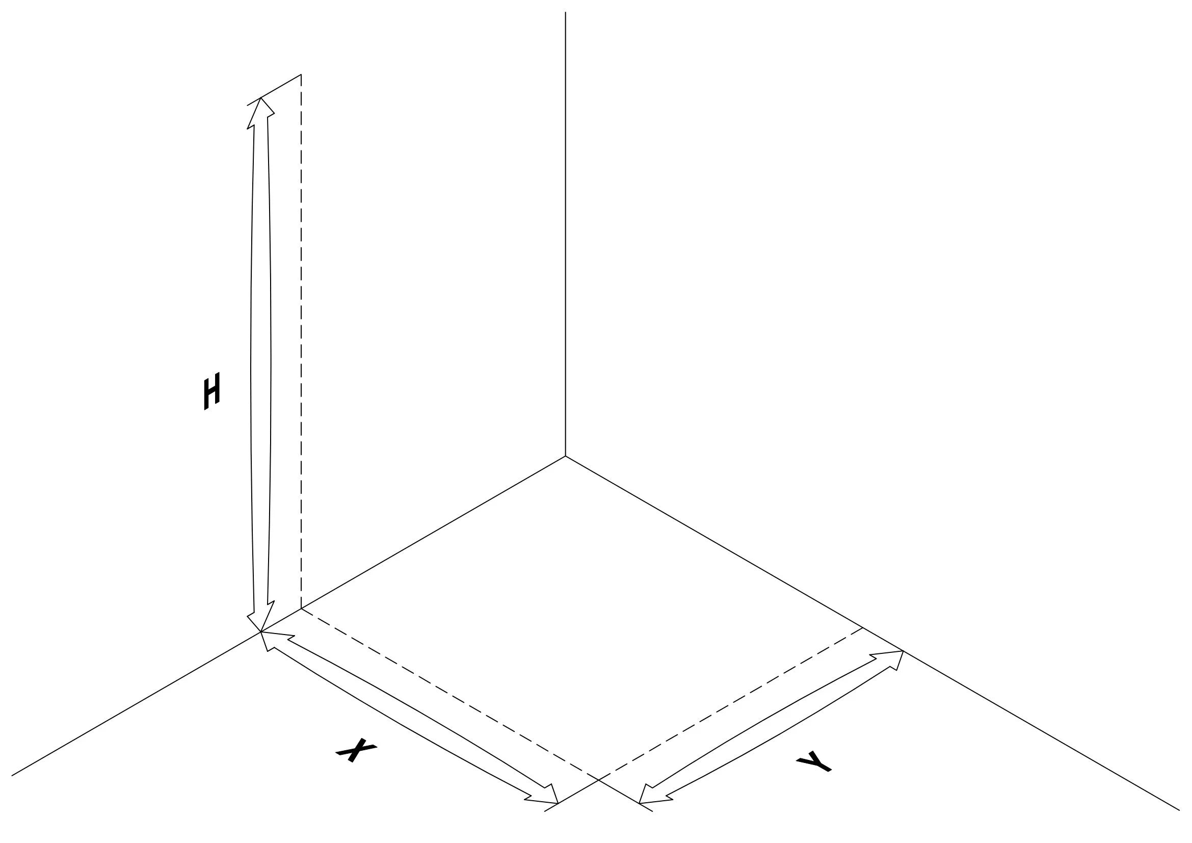
Determine Layout and Position
Determine where you want the position of the panel to be in the shower enclosure. Think about ease of access and the natural flow and usability of your bathroom.
Front Only Shower Screen
Measure the Shower Screen Height
Use a tape measure to measure the height of the space where the front-only shower screen will be installed. Place your tape measure flush with the floor and measure up to the desired height of your new shower screen. This will give you the vertical height, shown as ‘H’ on the diagram.
If you have any fixed obstructions in the shower opening, such as a profiled border or raised feature tile, make a note of these, along with the height of any feature tiles. Standard semi-framed shower screen height is 1950mm, however, you may need to order a custom shower screen to accommodate obstructions or your tiling height.
Measure the Width
Measure the width of the space where the shower screen will be installed. Start from the inside of one wall and measure to the inside of the opposite wall where the shower screen will be installed. This measurement will give you the width shown as ‘W’ on the diagram.
Front & Return Shower Screen
Measure the Height of Your Shower Screen
Use a tape measure to measure the height of the space where the semi-framed front and return showerscreen will be installed. Place the end of the tape measure flat on the floor and measure from the floor to the desired height of your new shower screen.
Make a note of any obstructions in the shower opening such as a profiled border or feature tile, along with the height of any feature tiles. Standard semi-framed shower screen height is 1950mm, however, you may need to order a custom shower screen to accommodate obstructions or your tiling height.
Measure the Width
Using your tape measure, measure from the wall out to the desired width where your shower screen will be installed. This measurement will give you the width shown as ‘X’ on the diagram.
Measure the Return
Using the tape measure, measure the return width following the tile line, shown as ‘Y’ on the diagram. These three measurements give you the overall size of your showerscreen unit.
Check for Out of Plumb Walls
Place your spirit level on the wall where your semi-framed shower screen will be positioned. If the wall is out of plumb, measure the distance between the wall and the level – this ‘overflow’ measurement that stretches beyond the 90-degree angle is known as runout.
Check the specifications of your chosen front-only semi-framed showerscreen panel, and note the maximum runout tolerance of the panel is 10mm to ensure the showerscreen will suit your opening and any runouts. If your wall is out of square and exceeds the listed tolerances, a custom shower screen panel can be made for your project.
Check the Floor for Level
Both floors and walls can gradually move out of alignment, especially in older homes. In many bathrooms, the floor will not be completely level at every point due to the positioning of the floor drains – most tiles slope gently towards the drain to ensure excess water drains away efficiently.
Your panel needs to sit flush on the floor, so to check the floor is level, place your spirit level on the floor to see if it is out of plumb. If so, measure the distance between the floor and the level, which can be just a few millimetres or quite a large gap.
Then, check the front-only semi-framed shower screen panel specifications for your chosen style of screen, noting the maximum runout floor level of the panel. If the levels in your home exceed the listed tolerances in the specifications, a standard showerscreen may not suit your opening so a custom panel can be made instead.
Check for Obstructions
Check for any obstructions, such as the shower head, tapware or vanity that may prevent the door from opening fully. You may need to order a custom showerscreen to accommodate fixed obstructions to ensure your door opens wide and allows easy access to your shower.
Double Check Your Measurements
It is always a good idea to double-check your measurements before ordering or installing the shower screen panel to ensure that it will fit perfectly.
You’re Ready to Order
Once you have all your measurements, you’re ready to select a Stegbar semi-framed shower screen that will fit beautifully in your bathroom.
To get started, take a look at the extensive range of shower screen options available in our DIY Buy Online store.


